新闻资讯
首页
科技
商业
生活
科学
健康
体育
综合
频道
新闻资讯
陈亨利提议将香港打造为国际时尚中心并优化大湾区物流中心
生活
小编
评论 0
2024-11-06
乌克兰到底在做什么
综合
小编
评论 0
2024-11-06
受加沙拒绝停火和美国燃料库存数据影响,油价上涨3%
科技
小编
评论 0
2024-11-06
马航MH370航班发生了什么?Pilot揭示了令人不寒而栗的新理论
体育
小编
评论 0
2024-11-06
随着科技巨头裁员,创新可能会回到它的根源:车库
健康
小编
评论 0
2024-11-06
随着威胁不断升级,《快报》读者透露他们是否准备好参加第三次世界大战
商业
小编
评论 0
2024-11-06
OpenAI的打压魔咒被打破:Claude 3一方受赞誉,一方引发嘲讽
体育
小编
评论0
2024-11-06
保守党议员试图打击议会年收入超过10万英镑的肥猫
生活
小编
评论 0
2024-11-06
刘易舍姆枪击案:男子在凌晨4点伦敦恐怖袭击中死亡,枪手在逃
商业
小编
评论 0
2024-11-06
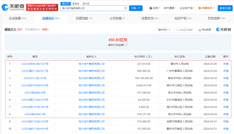
恒大地产再次被强制执行,被执行金额超过1.5亿余元,累计超过450亿
科技
小编
评论0
2024-11-06
附楼复式是一个快乐的花园
健康
小编
评论 0
2024-11-06
在非洲猪瘟的打击下,养猪户难以提高产量
世界
小编
评论 0
2024-11-06
迈克尔戈夫拒绝参加1000英镑的卢旺达赌注:“我没有那么多钱”
综合
小编
评论 0
2024-11-06
王室成员不喜欢“加紧”这个词,原因是有道理的
商业
小编
评论 0
2024-11-06
这座深受英国游客喜爱的美丽欧洲城市即将出台禁酒令
综合
小编
评论 0
2024-11-06
法庭文件披露了法尼·威利斯与特朗普案聘请的检察官之间的私人关系
健康
小编
评论 0
2024-11-06
俄罗斯称数十人在乌克兰炮击李sychansk面包店事件中丧生
生活
小编
评论 0
2024-11-06
《奥本海默》的主演们走出首映式,声援SAG-AFTRA的罢工
体育
小编
评论 0
2024-11-06
政治简报:马尼托巴省和渥太华各承诺提供2000万美元,用于在温尼伯的垃圾填埋场搜寻第一民族妇女的尸体
科技
小编
评论 0
2024-11-06
你最有可能第一次通过驾驶考试的英国城镇
世界
小编
评论 0
2024-11-06
52
/2404
下一页
上一页
首页
尾页
首页
频道
我的
更多